
Product Description
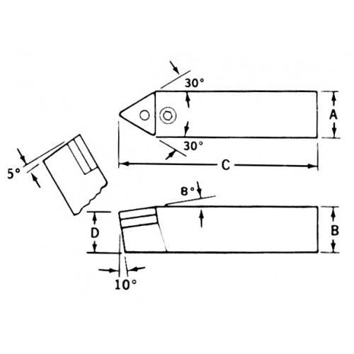
A unique locking device exerts a two-way force on the carbide insert: downward and tight against shoulder to assure rigid, positive seating. Designed to accept standard inserts. 30° side cutting edge style. Also available in right and left hand versions.
Dimensions (see image) A: 1" C: 6" D: 13/16"
Insert Size: I.C.: 1/2" Thickness: 3/16"
Replacement Parts: Carbide Seat ST-2 Hex Lock Pin LP-2 Lock Screw LS-2
Dimensions (see image) A: 1" C: 6" D: 13/16"
Insert Size: I.C.: 1/2" Thickness: 3/16"
Replacement Parts: Carbide Seat ST-2 Hex Lock Pin LP-2 Lock Screw LS-2

